欢迎光临鸟网!设为首页 收藏本站

查看: 605|回复: 1

[器材讨论] 傻瓜机又来了,还是无反。

[复制链接]

我的粉丝数量
用户组:    金钻会员  
发表于 2021-2-20 07:48 |显示全部楼层
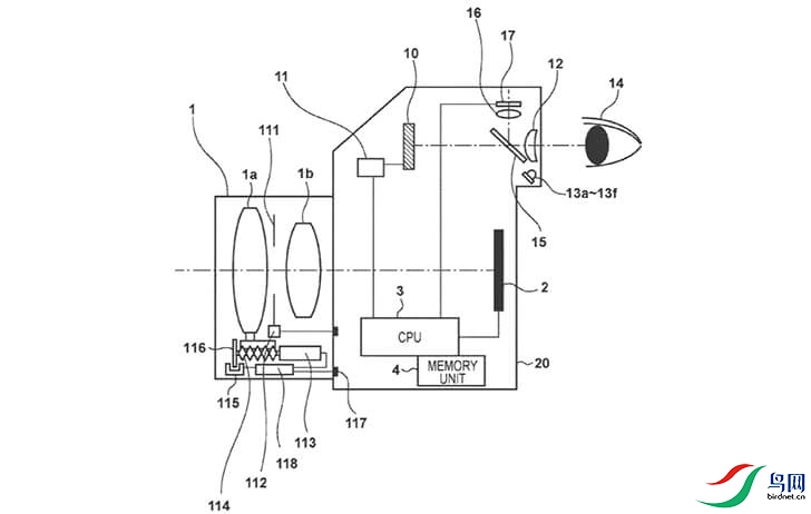
佳能在美国注册了在无反相机上侦测眼球指向选取对焦点的新专利

现在要提相机的眼控对焦技术,恐怕有不少人都只能想到目前一系列微单/无反相机上在半按快门后,始终跟随在对焦人物眼睛上的小框框。但其实早在胶片时代,佳能就推出过一项眼控对焦技术,现在据外媒Canon News报道,佳能近期公布了无反相机眼控对焦的新专利,这项眼控对焦技术有望在之后的无反相机上得以重生。
patenteyedetect.jpg

这项眼控对焦技术与现在相机的眼控跟踪不同,它是通过摄影师的眼睛观察取景器中的拍摄对象来进行对焦,也就是摄影师的眼睛看向哪里,对焦就对到那个位置。在胶片时代,佳能EOS 3,EOS 50E等相机都搭载过这项技术,不过在进入数码时代后,佳能将这项眼控技术给封印了起来,一系列单反数码相机均没有使用这一对焦技术。
0ec5e6c0b02f4d6dba573f484841dd6c.jpeg

此前也有不少佳能用户对于这一眼控对焦技术的封印表示不解,不过那时候的眼控对焦技术发展还不够成熟,并且有些戴眼镜的用户表示这项功能作用不大。不过现在这么多年过去了,这项技术也许在无反相机上会有新的突破。
98ab7de02d814c03b9e35d7ac91f7e2b.jpeg

但是佳能注册的技术专利并不代表在未来短期内就一定会在实际的新相机上使用,佳能用户可以期待一下,但是否新无反相机会有这个眼控功能,目前还是个未知数。


分享 收藏
1

查看全部评分

查看全部评分

使用道具 举报

回复

我的粉丝数量
用户组:    金钻会员  
发表于 2021-2-23 18:54 |显示全部楼层

芭蕾系列是以福州市中心方圆25公里范围内所拍的鸟


鸬鹚芭蕾 (鱼老鸹与水老鸦) (365幅组图)
已整理完成  2022年发
芦荡芭蕾 (大苇莺与小攀雀) (365幅组图)
已整理完成  2022年发
鸻行芭蕾 (长嘴剑与铁嘴沙) (365幅组图)
已整理完成  2021年发
黑领芭蕾 (红嘴鹎与雀嘴鹎) (365幅组图)
已整理完成  2021年发
丫丫芭蕾 (斑嘴鸭与绿翅鸭) (365幅组图)
已整理完成  2021年发
老鹞芭蕾 (鸡母鹞与土豹子) (365幅组图)
已整理完成  2021年发
灰鹞芭蕾 (黄金爪与宝石眼) (365幅组图)
2021年6月20日发布
矶鹬芭蕾 (叽叽叽与唧唧唧) (365幅组图)
2021年5月9日发布
森林芭蕾 (钩嘴鵙与林伯劳) (365幅组图)
2021年3月4日发布
雉鹃芭蕾 (红毛鸡与锦毛鸡) (365幅组图)
https://www.birdnet.cn/forum.php ... &fromuid=683978
双姬芭蕾 (白眉鶲与绿背鶲) (365幅组图)
https://www.birdnet.cn/forum.php ... &fromuid=683978
功夫芭蕾 (凿子嘴与铁钩爪) (365幅组图)
https://www.birdnet.cn/forum.php ... &fromuid=683978
蓝姬芭蕾 (蓝尾鸲与鸲姬鶲) (365幅组图)
https://www.birdnet.cn/forum.php ... &fromuid=683978
祝祷芭蕾 (太平鸟与相思鸟) (365幅组图)
https://www.birdnet.cn/forum.php ... &fromuid=683978
灰白芭蕾 (灰燕尾与白燕尾) (365幅组图)
https://www.birdnet.cn/forum.php ... &fromuid=683978
湖滩芭蕾 (金翅雀与蓝点颏) (365幅组图)
https://www.birdnet.cn/forum.php ... &fromuid=683978
蓝色芭蕾 (铜蓝鶲与蓝姬鶲) (365幅组图)
https://www.birdnet.cn/forum.php ... &fromuid=683978
红尾芭蕾 (铅色水与红尾溜) (365幅组图)
https://www.birdnet.cn/forum.php ... &fromuid=683978
樱の芭蕾 (太阳鸟与七彩鸟) (365幅组图)
https://www.birdnet.cn/forum.php ... &fromuid=683978
馨龠芭蕾 (真画眉与假画眉) (365幅组图)
https://www.birdnet.cn/forum.php ... &fromuid=683978
庭前芭蕾 (母山鹧与公山鹧) (365幅组图)
https://www.birdnet.cn/forum.php ... &fromuid=683978
竹丛芭蕾 (小黄眉与小鳞头) (365幅组图)
https://www.birdnet.cn/forum.php ... &fromuid=683978
堤垸芭蕾 (啄鱼郎与钓鱼郎) (365幅组图)
https://www.birdnet.cn/forum.php ... &fromuid=683978
垄埂芭蕾 (打鱼郎与放牛郎) (365幅组图)
https://www.birdnet.cn/forum.php ... &fromuid=683978
篱间芭蕾 (红点颏与小仙鹟) (365幅组图)
https://www.birdnet.cn/forum.php ... &fromuid=683978
苇莞芭蕾 (小黃鹭与小白鹭) (365幅组图)
https://www.birdnet.cn/forum.php ... &fromuid=683978
湖墘芭蕾 (红洼子与蓝洼子) (365幅组图)
https://www.birdnet.cn/forum.php ... &fromuid=683978
水上芭蕾 (黑水鸡与白水鸡) (365幅组图)
https://www.birdnet.cn/forum.php ... &fromuid=683978
水下芭蕾 (水葫芦与油葫芦) (365幅组图)
https://www.birdnet.cn/forum.php ... &fromuid=683978
空中芭蕾 (白头翁与白头婆) (365幅组图)
https://www.birdnet.cn/forum.php ... &fromuid=683978
云端芭蕾 (猫头鹰与凤头鹰) (365幅组图)
https://www.birdnet.cn/forum.php ... &fromuid=683978
黑水鸡的一生 (从46页开始) (365幅组图)
https://www.birdnet.cn/forum.php ... &fromuid=683978
居家旅行( 福 州 )必备良帖 (365幅组图)
https://www.birdnet.cn/forum.php ... &fromuid=683978

分享 收藏
1

查看全部评分

查看全部评分

使用道具 举报

回复
您需要登录后才可以回帖 登录 | 立即注册

本版积分规则

鸟网小程序

公众号

鸟网 www.birdnet.cn 版权所有 © 2005-2026 辽ICP备13000869号-1
客服
投票
登录
升级
顶部