欢迎光临鸟网!设为首页 收藏本站

查看: 611|回复: 2

[器材讨论] 尼康2015年也申请过类似Foveon X3的技术专利

[复制链接]

我的粉丝数量
用户组:    金钻会员  
发表于 2021-3-7 10:23 |显示全部楼层
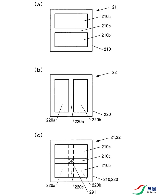
  尼康双层传感器技术(专利公开号2016-192645;发表日期2016.11.10;申请日期2015.3.31)。

a9c8163f19384125ae7febd82224c8e9 (1).jpeg


  尼康公布过一款专利技术,这项技术是其最新设计的双层传感器,这项技术说明除传统(正常)RGB传感器层外,尼康还在其上附加了一个相位自动对焦层。

7560_24005242_1.jpg


  这项技术将助尼康进一步完善旗下无反相机产品的自动对焦性能,未来可以达到媲美专业级相机的水平。

7560_24005303_1.jpg


本帖最后由 琴剑光影 于 2021-3-7 10:33 编辑

分享 收藏
1

查看全部评分

查看全部评分

使用道具 举报

回复

我的粉丝数量
用户组:    金钻会员  
发表于 2021-3-7 10:27 |显示全部楼层
近日,尼康研发了1英寸1782万像素堆叠式CMOS图像传感器。尼康研发1英寸1782万像素堆叠式CMOS图像传感器
尼康1英寸1782万像素堆叠式CMOS图像传感器-01-800x495.jpg

此传感器底层芯片可直接控制顶部芯片与BSI传感器,使其大大降低了层与层之间通信的滞后性,使得此传感器实现了1000 帧/秒的超慢动作拍摄能力。尼康研发1英寸1782万像素堆叠式CMOS图像传感器尼康研发1英寸1782万像素堆叠式CMOS图像传感器
尼康1英寸1782万像素堆叠式CMOS图像传感器-03-800x321.jpg

此传感器顶层芯片实际上分为264×264 块,每块像素为16×16,因此,此传感器像素为1784万。尼康研发1英寸1782万像素堆叠式CMOS图像传感器
尼康1英寸1782万像素堆叠式CMOS图像传感器-02-800x273.jpg

此外,此传感器底层芯片还可单独控制每个区块的曝光。
尼康1英寸1782万像素堆叠式CMOS图像传感器-04-800x341.jpg
本帖最后由 琴剑光影 于 2021-3-7 10:29 编辑

分享 收藏
1

查看全部评分

查看全部评分

使用道具 举报

回复

我的粉丝数量
用户组:    金钻会员  
发表于 2021-3-7 10:39 |显示全部楼层

查看全部评分

使用道具 举报

回复
您需要登录后才可以回帖 登录 | 立即注册

本版积分规则

鸟网小程序

公众号

鸟网 www.birdnet.cn 版权所有 © 2005-2026 辽ICP备13000869号-1
客服
投票
登录
升级
顶部