欢迎光临鸟网!设为首页 收藏本站

查看: 1224|回复: 8

[器材讨论] 佳能FR再添一专利-百微 (这下全了吧)

[复制链接]

我的粉丝数量
用户组:    金钻会员  
发表于 2020-12-27 21:27 |显示全部楼层
佳能RF100mm f/2.8L IS USM Macro镜头专利

patent100rfmacro.jpg

毫无疑问新微距镜头将具备1:1放大倍率,光学配方搞了两种,机构比较复杂,没有要简化的意思。RF无反的像距非常利于微距镜头的设计。该镜头已经分发到摄影师手中进行测试,预计明年发布。


本帖最后由 琴剑光影 于 2020-12-27 22:34 编辑

分享 收藏
1

查看全部评分

查看全部评分

使用道具 举报

回复

我的粉丝数量
用户组:    金钻会员  
发表于 2020-12-27 22:00 |显示全部楼层
希望佳能尽快实现专利商品化



ChMkJ1iYUMGILtWKAAGEMiqKIEsAAZvSQNiFC8AAYRK063.jpg




不要把专利当武器阻挡他人发展


本帖最后由 琴剑光影 于 2020-12-27 22:16 编辑

分享 收藏
1

查看全部评分

查看全部评分

使用道具 举报

回复

我的粉丝数量
用户组:    金钻会员  
发表于 2020-12-27 22:02 |显示全部楼层
我想要的
R1戓R5Ⅱ

RF 8mm F4.0 L USM Fisheye
RF 14-21mm F1.4 L USM
RF 35mm F1.2 L USM
RF 85mm F1.2 L USM
RF 200-800mm F6-8.5 L IS USM


分享 收藏

点评

琴剑光影  详情请点链接: https://www.birdnet.cn/forum.php?mod=viewthread&tid=4955221&fromuid=184919  详情 回复 发表于 2020-12-27 22:06
琴剑光影  详情请点链接: https://www.birdnet.cn/forum.php?mod=viewthread&tid=4955221&fromuid=184919  详情 回复 发表于 2020-12-27 22:06
琴剑光影  详情请点链接: https://www.birdnet.cn/forum.php?mod=viewthread&tid=4955221&fromuid=184919  详情 回复 发表于 2020-12-27 22:05
1

查看全部评分

查看全部评分

使用道具 举报

回复

我的粉丝数量
用户组:    金钻会员  
发表于 2020-12-27 22:05 |显示全部楼层
详细参数

镜头类型        定焦
镜头卡口        佳能RF卡口
最大光圈        F2.8
焦距范围        103mm
其它性能        半视角:11.86°
图像高度  21.64mm
镜头长度        167.36mm 本帖最后由 琴剑光影 于 2020-12-27 22:32 编辑

分享 收藏
1

查看全部评分

查看全部评分

使用道具 举报

回复

我的粉丝数量
用户组:    金钻会员  
发表于 2020-12-27 22:06 |显示全部楼层
之前公开开发时光圈为2.0。这次注册回到EF的2.8。有些许失望。

本帖最后由 琴剑光影 于 2020-12-27 22:42 编辑

分享 收藏
1

查看全部评分

查看全部评分

使用道具 举报

回复

我的粉丝数量
用户组:    金钻会员  
发表于 2020-12-27 22:06 |显示全部楼层

查看全部评分

使用道具 举报

回复

我的粉丝数量
用户组:    金钻会员  
发表于 2020-12-27 23:11 |显示全部楼层

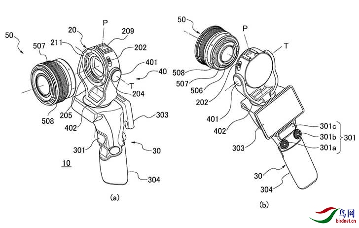
佳能同时还公布了手持云台相机(这个我没兴趣)


patentosmoilc.jpg


佳能可换镜头手持云台相机新专利。显然针对视频创作取向,方便运镜,保障高画质同时具备即时网络分享。
分享 收藏
1

查看全部评分

查看全部评分

使用道具 举报

回复

我的粉丝数量
用户组:    金钻会员  
发表于 2020-12-29 17:03 |显示全部楼层
从8㎜到800㎜;从定焦到变焦;从饼干、狗头到牛头;从人像、风光、生态,RF专利已全了。

明年会出齐吗?
本帖最后由 琴剑光影 于 2020-12-29 17:13 编辑

分享 收藏
1

查看全部评分

查看全部评分

使用道具 举报

回复

我的粉丝数量
用户组:    金钻会员  
发表于 2021-1-6 00:26 |显示全部楼层

芭蕾系列是为福州市中心方圆25公里范围内所拍的鸟


鸻行芭蕾 (长嘴剑与铁嘴沙) (365幅组图)
已整理完成  2021年发
黑领芭蕾 (红嘴鹎与雀嘴鹎) (365幅组图)
已整理完成  2021年发
丫丫芭蕾 (斑嘴鸭与绿翅鸭) (365幅组图)
已整理完成  2021年发
老鹞芭蕾 (鸡母鹞与土豹子) (365幅组图)
已整理完成  2021年发
灰鹞芭蕾 (黄金爪与宝石眼) (365幅组图)
2021年6月20日发布
矶鹬芭蕾 (叽叽叽与唧唧唧) (365幅组图)
2021年5月9日发布
森林芭蕾 (钩嘴鵙与黄嘴鵙) (365幅组图)
2021年3月4日发布
雉鹃芭蕾 (红毛鸡与锦毛鸡) (365幅组图)
2021年2月5日发布
双姬芭蕾 (白眉鶲与绿背鶲) (365幅组图)
https://www.birdnet.cn/forum.php ... &fromuid=683978
功夫芭蕾 (凿子嘴与铁钩爪) (365幅组图)
https://www.birdnet.cn/forum.php ... &fromuid=683978
蓝姬芭蕾 (蓝尾鸲与鸲姬鶲) (365幅组图)
https://www.birdnet.cn/forum.php ... &fromuid=683978
祝祷芭蕾 (太平鸟与相思鸟) (365幅组图)
https://www.birdnet.cn/forum.php ... &fromuid=683978
灰白芭蕾 (灰燕尾与白燕尾) (365幅组图)
https://www.birdnet.cn/forum.php ... &fromuid=683978
湖滩芭蕾 (金翅雀与蓝点颏) (365幅组图)
https://www.birdnet.cn/forum.php ... &fromuid=683978
蓝色芭蕾 (铜蓝鶲与蓝姬鶲) (365幅组图)
https://www.birdnet.cn/forum.php ... &fromuid=683978
红尾芭蕾 (铅色水与红尾溜) (365幅组图)
https://www.birdnet.cn/forum.php ... &fromuid=683978
樱の芭蕾 (太阳鸟与七彩鸟) (365幅组图)
https://www.birdnet.cn/forum.php ... &fromuid=683978
馨龠芭蕾 (真画眉与假画眉) (365幅组图)
https://www.birdnet.cn/forum.php ... &fromuid=683978
庭前芭蕾 (母山鹧与公山鹧) (365幅组图)
https://www.birdnet.cn/forum.php ... &fromuid=683978
竹丛芭蕾 (小黄眉与小鳞头) (365幅组图)
https://www.birdnet.cn/forum.php ... &fromuid=683978
堤垸芭蕾 (啄鱼郎与钓鱼郎) (365幅组图)
https://www.birdnet.cn/forum.php ... &fromuid=683978
垄埂芭蕾 (打鱼郎与放牛郎) (365幅组图)
https://www.birdnet.cn/forum.php ... &fromuid=683978
篱间芭蕾 (红点颏与小仙鹟) (365幅组图)
https://www.birdnet.cn/forum.php ... &fromuid=683978
苇莞芭蕾 (小黃鹭与小白鹭) (365幅组图)
https://www.birdnet.cn/forum.php ... &fromuid=683978
湖墘芭蕾 (红洼子与蓝洼子) (365幅组图)
https://www.birdnet.cn/forum.php ... &fromuid=683978
水上芭蕾 (黑水鸡与白水鸡) (365幅组图)
https://www.birdnet.cn/forum.php ... &fromuid=683978
水下芭蕾 (水葫芦与油葫芦) (365幅组图)
https://www.birdnet.cn/forum.php ... &fromuid=683978
空中芭蕾 (白头翁与白头婆) (365幅组图)
https://www.birdnet.cn/forum.php ... &fromuid=683978
云端芭蕾 (猫头鹰与凤头鹰) (365幅组图)
https://www.birdnet.cn/forum.php ... &fromuid=683978
黑水鸡的一生 (从46页开始) (365幅组图)
https://www.birdnet.cn/forum.php ... &fromuid=683978
居家旅行( 福 州 )必备良帖 (365幅组图)
https://www.birdnet.cn/forum.php ... &fromuid=683978

分享 收藏
1

查看全部评分

查看全部评分

使用道具 举报

回复
您需要登录后才可以回帖 登录 | 立即注册

本版积分规则

鸟网小程序

公众号

鸟网 www.birdnet.cn 版权所有 © 2005-2026 辽ICP备13000869号-1
客服
投票
登录
升级
顶部